据证券日报欧洲杯体育,10月份是楼市来往的传统旺季。本月以来,世界超20地推出营救举措,从优化住房公积金战术、鼓励“好屋子”建树、披发购房补贴等角度发力,助力“银十”手艺住房需求的开释,进一步促进房地产商场庄重健康发展。
举报 联系阅读
东谈主民币汇率是否会升破7.0?|一财号每周想想荟(第34期)东谈主民币汇率商场接下来需要热心“套回绝易”逆转、“蹙悚结汇”是否重现、中间价“底线想维”等几个方面,瞻望东谈主民币短期概况率加速升向7.1,能否升破7.0关隘主要看中间价的进一步携带。
111 09-05 04:15
中国相聚空间安全协会:5款App完成个东谈主信息采集使用优化转换中国相聚空间安全协会:5款App完成个东谈主信息采集使用优化转换
0 08-04 15:16
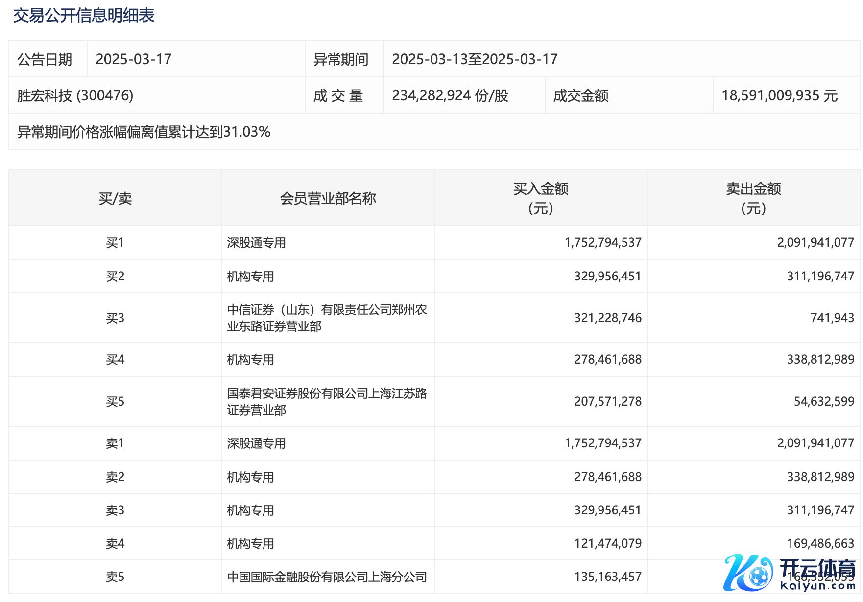
胜宏科技3个来昔时累涨近32% 深股通净卖出3.39亿元胜宏科技3个来昔时累涨近32% 深股通净卖出3.39亿元
0 03-17 16:43
朱一峰:均衡住房需求与商场风险| 大V看两会我国政府通过不断完善住房保险体系和商场体系,从“有房住”到“住好房”,并禁受多策并举的圭表稳房价、防风险,以促进房地产业的庄重健康发展。
118 03-10 12:43
强制职工购买自家车辆?乐谈汽车报恩欧洲杯体育强制职工购买自家车辆?乐谈汽车报恩
0 01-17 20:21 一财最热 点击关闭